Intel 8212 模式 0
下图清晰地显示了 8212 在模式 0 下的工作方式

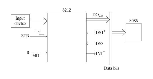
图:8212 在模式 0 下的工作方式
我们通常在希望 8212 作为输入端口工作时使用此模式。输入设备连接到 DI7-0,此处使用的微处理器接收来自 D7-D0 的信息。在此模式下,STB 充当给定锁存器的时钟。8212 中的 8 位锁存器遵循 DI7 到 DI0 上存在的串行信息,只要 STB 等于 1。当 STB 发生高到低的转换时,8212 的锁存器获取 DI7-DI0 上的信息。STB 的高到低转换激活 INT*,以便根据需要执行中断驱动的传输。只有当输出端的缓冲器启用时,8 位的锁存信息才会出现在 DO7 到 D00 上。当 DS1* 等于 0 且 DS2 等于 1 时,输出缓冲器被启用。
当我们希望 8212 作为输出端口工作时使用此模式。
我们在各种应用中使用 Intel 8212。
8212 在模式 0 下的应用
它充当门控缓冲器
双向总线驱动器
用于中断输入端口
提供基于 RST 的八个指令。
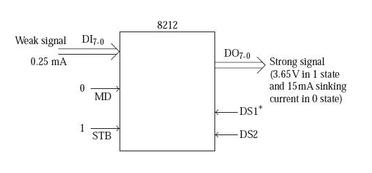
Intel 8212 作为门控缓冲器:当 8212 在逻辑 0 下工作时,将弱逻辑信号转换为强逻辑信号。8212 在模式 0 下的输出能够在 0 状态下吸收 15 mA 电流,这证明在 1 状态下至少有 3.65 V 的高输出电压。当输入信号只能提供 0.25 mA 电流时,总是为 Intel 8212 提供备份。因此,当 8212 在模式 0 下工作时,它始终充当缓冲器。

图:8212 作为门控缓冲器
双向总线驱动器:有时双向缓冲适用于微处理器的数 据线。
广告
数据结构
网络
关系数据库管理系统 (RDBMS)
操作系统
Java
iOS
HTML
CSS
Android
Python
C 编程
C++
C#
MongoDB
MySQL
Javascript
PHP