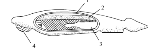
(a) 识别下图中的生物。(b) 给图中1到4号部位标注名称。(c) 命名脊索存在的门。(d) 命名脊索存在于整个生命周期的亚门。
(a) 图中所示生物为文昌鱼(学名:Branchiostoma)。
(b) 各部分名称:
(1.) 神经索 (2.) 脊索 (3.) 围鳃孔 (4.) 口笠
(c) 脊索动物所在的门的名称为脊索动物门 (Chordata)。
(d) 脊索存在于整个生命周期的亚门的名称为头索动物亚门 (Cephalochordate)。
广告

(a) 图中所示生物为文昌鱼(学名:Branchiostoma)。
(b) 各部分名称:
(1.) 神经索 (2.) 脊索 (3.) 围鳃孔 (4.) 口笠
(c) 脊索动物所在的门的名称为脊索动物门 (Chordata)。
(d) 脊索存在于整个生命周期的亚门的名称为头索动物亚门 (Cephalochordate)。